|
| |
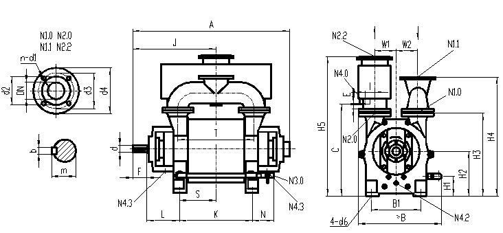
| N1.0进气端法兰 N1.1连通管法兰 N2.0排气端法兰 N2.2分离器法兰 N3.0工作液接口 N4.0分离器排液口 N4.2冲洗、排液口 N4.3泄漏液排放口 |
| 代号 | A | B1 | B | b | C | d | d6 | E | F | H1 | H2 | H3 | H4 | H5 | I | |
| 2BEA 102 | 730 | 220 | 500 | 10 | 394 | 35 | 15 | 37 | 58 | 74 | 180 | 355 | 495 | 645 | 40 | |
| 2BEA 103 | 795 | 220 | 500 | 10 | 394 | 35 | 15 | 37 | 58 | 74 | 180 | 355 | 495 | 645 | 40 | |
| 2BEA 151 | 800 | 260 | 550 | 10 | 467 | 35 | 19 | 50 | 58 | 94 | 225 | 425 | 600 | 745 | 50 | |
| 2BEA 152 | 825 | 260 | 550 | 10 | 467 | 35 | 19 | 50 | 58 | 94 | 225 | 425 | 600 | 745 | 50 | |
| 2BEA 153 | 885 | 260 | 550 | 10 | 467 | 35 | 19 | 50 | 58 | 94 | 225 | 425 | 600 | 745 | 50 | |
| 代号 | J | K | L | m | N | S | T | W1 | W2 | N3.0 | N4.0 | N4.2 | N4.3 | |||
| 2BEA 102 | 377 | 251 | 193.5 | 38 | 145 | 125.5 | 262 | 105 | 105 | G3/4" | G2" | G1/2" | G1/4" | |||
| 2BEA 103 | 409.5 | 316 | 193.5 | 38 | 145 | 158 | 327 | 105 | 105 | G3/4" | G2" | G1/2" | G1/4" | |||
| 2BEA 151 | 411.5 | 295 | 206 | 38 | 145 | 147.5 | 307 | 125 | 125 | G3/4" | G2" | G1/2" | G1/4" | |||
| 2BEA 152 | 424 | 320 | 206 | 38 | 145 | 160 | 332 | 125 | 125 | G3/4" | G2" | G1/2" | G1/4" | |||
| 2BEA 153 | 454 | 380 | 206 | 38 | 145 | 190 | 392 | 125 | 125 | G3/4" | G2" | G1/2" | G1/4" | |||
| 代号 | DN | d1 | d2 | d3 | d4 | n | 代号 | DN | d1 | d2 | d3 | d4 | n | |||
| 2BEA 102 2BEA 103 |
N1.0 N2.0 |
50 | 18 | 102 | 125 | 165 | 4 | 2BEA 151 2BEA 152 2BEA 153 |
N1.0 N2.0 |
65 | 18 | 122 | 145 | 185 | 4 | |
| N1.1 N2.2 |
65 | 18 | 122 | 145 | 185 | 4 | N1.1 N2.2 |
100 | 18 | 158 | 180 | 220 | 8 | |||